活动

天翼云最新优惠活动,涵盖免费试用,产品折扣等,助您降本增效!
热门活动
  • 安全隔离版OpenClaw NEW OpenClaw云服务器专属“龙虾“套餐低至1.5折起
  • 聚力AI赋能 天翼云大模型专项 大模型特惠专区·Token Plan 轻享包低至9.9元起
  • 青云志云端助力计划 NEW 一站式科研助手,海外资源安全访问平台,助力青年翼展宏图,平步青云
  • 出海产品促销专区 NEW 爆款云主机低至2折,高性价比,不限新老速来抢购!
  • 天翼云信创专区 NEW “一云多芯、一云多态”,国产化软件全面适配,国产操作系统及硬件芯片支持丰富
  • 中小企业服务商合作专区 国家云助力中小企业腾飞,高额上云补贴重磅上线
  • 云上钜惠 爆款云主机全场特惠,2核4G只要1.8折起!
  • 天翼云奖励推广计划 加入成为云推官,推荐新用户注册下单得现金奖励
免费活动
  • 免费试用中心 HOT 多款云产品免费试用,快来开启云上之旅
  • 天翼云用户体验官 NEW 您的洞察,重塑科技边界

息壤智算

领先开放的智算服务平台,提供算力、平台、数据、模型、应用“五位一体”智算服务体系,构建全流程的AI基础设施能力
AI Store
  • 算力市场
  • 模型市场
  • 应用市场
公共算力服务
  • 裸金属
  • 定制裸金属
训推服务
  • 模型开发
  • 训练任务
  • 服务部署
模型推理服务
  • 模型广场
  • 体验中心
  • 服务接入
应用托管
  • 应用实例
科研助手
  • 科研智能体
  • 科研服务
  • 开发机
  • 并行计算
大模型
  • DeepSeek-V4-Flash
  • GLM-5.1
  • Qwen3.5-122B-A10B
  • DeepSeek-V3.2(旗舰版)
  • GLM-5(正式版)
  • Qwen3.5-397B-A17B(正式版)
智算一体机
  • 智算一体机
模型适配专家服务
  • 模型适配专家服务
算力服务商
  • 入驻算力服务商

应用商城

天翼云精选行业优秀合作伙伴及千余款商品,提供一站式云上应用服务
进入甄选商城进入云市场进入AI Store创新解决方案公有云生态专区智云上海应用生态专区
建站工具
  • 新域名服务
  • SSL证书
  • 翼建站
企业办公
  • 安全邮箱
  • WPS 365 天翼云版
  • 天翼企业云盘(标准服务版)
灾备迁移
  • 云管家2.0
  • 翼备份(SaaS版)

定价

协助您快速了解云产品计费模式、价格详情,轻松预估上云成本
价格计算器
  • 动态测算产品价格
定价策略
  • 快速了解计费模式

合作伙伴

天翼云携手合作伙伴,共创云上生态,合作共赢
天翼云生态合作中心
  • 天翼云生态合作中心
天翼云渠道合作伙伴
  • 天翼云代理渠道合作伙伴
天翼云服务合作伙伴
  • 天翼云集成商交付能力认证
天翼云应用合作伙伴
  • 天翼云云市场合作伙伴
  • 天翼云甄选商城合作伙伴
天翼云技术合作伙伴
  • 天翼云OpenAPI中心
天翼云培训认证
  • 天翼云学堂
  • 天翼云市场商学院
天翼云合作计划
  • 云汇计划
天翼信创云专区
  • 信创云专区
  • 适配互认证

开发者

开发者相关功能入口汇聚
技术社区
  • 专栏文章
  • 互动问答
  • 技术视频
资源与工具
  • OpenAPI中心
培训与认证
  • 天翼云学堂
  • 天翼云认证
开源社区
  • 魔乐社区
  • OpenTeleDB

支持与服务

为您提供全方位支持与服务,全流程技术保障,助您轻松上云,安全无忧
文档与工具
  • 文档中心
  • 新手上云
  • 自助服务
  • OpenAPI中心
定价
  • 价格计算器
  • 定价策略
基础服务
  • 售前咨询
  • 在线支持
  • 在线支持
  • 工单服务
  • 服务保障
  • 会员中心
增值服务
  • 红心服务
  • 首保服务
  • 客户支持计划
  • 专家技术服务
  • 备案管家
我要反馈
  • 建议与反馈
  • 用户体验官
信息公告
  • 客户公告

了解天翼云

天翼云秉承央企使命,致力于成为数字经济主力军,投身科技强国伟大事业,为用户提供安全、普惠云服务
品牌介绍
  • 关于天翼云
  • 智算云
  • 天翼云4.0
  • 新闻资讯
  • 天翼云APP
基础设施
  • 全球基础设施
  • 信任中心
最佳实践
  • 精选案例
  • 超级探访
  • 云杂志
  • 分析师和白皮书
  • 天翼云·创新直播间
市场活动
  • 2026智能云生态大会
  • 2025智能云生态大会
  • 2024智算云生态大会
  • 2023云生态大会
  • 2022云生态大会
  • 天翼云中国行
天翼云
  • 活动
  • 息壤智算
  • 产品
  • 解决方案
  • 应用商城
  • 定价
  • 合作伙伴
  • 开发者
  • 支持与服务
  • 了解天翼云
      • 文档
      • 控制中心
      • 备案
      • 管理中心
      文档中心

      智能视图服务

      智能视图服务

      • 智能视图服务

      无数据

        • 产品动态
        • 产品介绍
        • 产品定义
        • 术语解释
        • 产品优势
        • 产品功能
        • 规格与限制
        • 应用场景
        • 新旧版本使用指引
        • 计费说明
        • 计费模式
        • 购买
        • 续订
        • 退订
        • 到期
        • 快速入门
        • 使用流程
        • 用户指南
        • 登录控制台
        • 概览
        • 设备管理
        • 设备联网确认
        • 国标设备接入
        • RTMP设备接入
        • RTSP设备接入
        • EHOME设备接入
        • 网关设备接入
        • 目录树管理
        • 设备批量管理
        • 实时预览
        • 播放控制
        • 语音对讲
        • 画面缩放
        • 批量预览
        • 云台操作
        • 录像回放
        • 播放控制
        • 录像下载
        • 列表查看
        • 向上级联
        • 向上级联概述
        • 创建上级平台
        • 管理级联组织树
        • 自定义级联国标ID
        • 级联平台管理
        • 视图服务
        • 摄像头接入
        • 视图库接入
        • 平台向上级联
        • 视图查询
        • 电子地图
        • 主界面
        • 地图操作
        • 摄像头操作
        • 地图工具
        • 凭证管理
        • GB28181凭证
        • ISUP凭证
        • GA1400凭证
        • GB35114凭证
        • 模板管理
        • 存储模板
        • 回调模板
        • AI管理
        • 云端AI应用
        • 设备AI订阅
        • 人脸库
        • 访问管理
        • 概览
        • 用户管理
        • 策略管理
        • 角色管理
        • 访问限制
        • 运营中心
        • 设备事件
        • AI告警
        • 消息推送
        • 推送策略
        • 推送历史
        • 网关管理
        • 网关概述
        • 注册网关
        • 计费管理
        • 用量统计
        • 系统管理
        • 操作日志
        • 自定义设备树
        • 鉴权
        • 系统设置
        • 用户指南(旧版)
        • 登录控制台
        • 概览
        • 业务组管理
        • 设备管理
        • 设备联网确认
        • 国标设备接入
        • RTMP设备接入
        • RTSP设备接入
        • EHOME设备接入
        • 目录树管理
        • 设备批量管理
        • 实时预览
        • 播放控制
        • 语音对讲
        • 电子缩放
        • 局部缩放
        • 设备轮巡
        • 一键播放
        • 云台控制
        • 巡航守望
        • 云台锁定
        • 录像回放
        • 播放控制
        • 录像下载
        • 列表查看
        • 电子地图
        • 主界面
        • 地图操作
        • 摄像头操作
        • 地图工具
        • 向上级联
        • 创建上级平台
        • 管理资源
        • 启动级联
        • 级联平台管理
        • 凭证管理
        • GB28181凭证
        • ISUP凭证
        • GA1400凭证
        • GB35114凭证
        • 模板管理
        • 录制模板
        • 回调模板
        • 告警模板
        • AI管理
        • AI应用
        • 人脸库
        • 访问管理
        • 概览
        • 用户管理
        • 策略管理
        • 角色管理
        • 访问限制
        • 运营中心
        • 设备告警
        • AI告警
        • 消息推送
        • 推送策略
        • 推送历史
        • 计费管理
        • 系统管理
        • 操作日志
        • 自定义设备树
        • 系统设置
        • 最佳实践
        • 添加国标IPC设备并播放实时画面
        • 配置危险区域AI算法
        • 添加国标向上级联并同步设备
        • 添加并使用电子地图
        • 常见问题
        • 概念类
        • 计费类
        • 购买类
        • 操作类
        • API参考
        • 调用前必知
        • 使用说明
        • 终端节点
        • 请求状态码
        • API概览
        • 如何调用API
        • 构造请求
        • 认证鉴权
        • API
        • 2022-06-13
        • 设备管理
        • 创建设备
        • 删除设备
        • 查询设备列表
        • 查询设备
        • 修改设备
        • 设备树管理
        • 目录管理
        • 创建目录
        • 删除目录
        • 修改目录
        • 查询目录
        • 查询目录列表
        • 修改设备目录
        • 凭证管理
        • GB28181凭证
        • 创建GB28181凭证
        • 删除GB28181凭证
        • 更新GB28181凭证
        • 查询GB28181凭证
        • 查询GB28181凭证列表
        • 模板管理
        • 视频存储模板
        • 创建存储模板
        • 删除存储模板
        • 修改存储模板
        • 查询存储模板
        • 查询存储模板列表
        • 查询存储模板绑定的设备列表
        • 视频设备
        • 视频设备接入
        • 启用流
        • 停用流
        • 视频流管理
        • 查询设备云端直播流
        • 视频存储管理
        • 绑定存储模板
        • 解绑存储模板
        • 启动云端录制
        • 停止云端录制
        • 查询设备绑定的存储模板
        • 查询录像列表
        • 云台控制
        • 开启镜头转动
        • 停止镜头转动
        • 开启镜头调节
        • 停止镜头调节
        • 回调管理
        • 回调模板
        • 创建回调模板
        • 删除回调模板
        • 修改回调模板
        • 查询回调模板
        • 查询回调模板列表
        • 回调规则
        • 创建回调规则
        • 删除回调规则
        • 查询回调规则
        • 查询回调规则列表
        • 计费管理
        • 资源计费
        • 查询用户资源列表
        • 查询设备资源列表
        • 客户端下载
        • 天翼云瞰
        • 文档下载
        • 视频专区
        • 相关协议
        • 服务条款
        • 服务等级协议
          无相关产品

          本页目录

          帮助中心智能视图服务用户指南AI管理设备AI订阅
          设备AI订阅
          更新时间 2026-03-20 11:39:43
          • 新浪微博
          • 微信
            扫码分享
          • 复制链接
          最近更新时间: 2026-03-20 11:39:43
          分享文章
          • 新浪微博
          • 微信
            扫码分享
          • 复制链接
          本节主要介绍如何在智能视图服务控制台管理设备AI订阅。

          智能视图服务平台支持获取国标协议设备侧的告警信息,当设备支持报警布防功能时,用户可以自定义需要订阅的设备侧告警类型,平台即可获取并展示设备侧告警内容。

          说明

          设备AI订阅功能当前仅支持国标2016版本接入的设备。

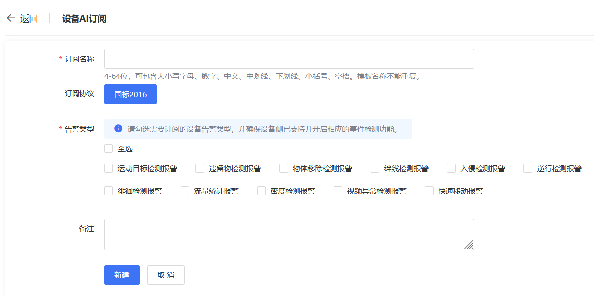
          创建设备AI订阅

          点击左侧导航栏的【AI管理-设备AI订阅】后点击【新建】进入该页面,用户需输入订阅名称、勾选需要订阅的设备告警类型,当前订阅协议仅支持国标2016版本(即仅支持为国标2016设备绑定订阅)。

          绑定设备AI订阅

          设备AI订阅可以批量绑定至设备,设备绑定后即实时获取设备侧上报的告警信息并展示。

          批量绑定订阅

          完成订阅创建后,在订阅列表选中单个订阅并点击【绑定设备】,可勾选多个需订阅的设备后点击【确定】即立即生效。

          设备绑定订阅

          点击左侧菜单栏的【设备管理】,选中设备并在设备详情切换至【配置信息】页面,在设备AI订阅信息右侧点击【配置】。在配置状态下,选择需要的订阅点击【绑定】即可完成设备AI订阅绑定,同样也可以在该页面解除绑定。

          查看设备侧AI告警

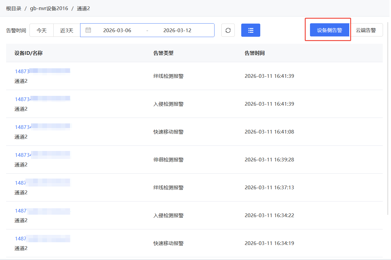
          点击左侧导航栏的【运营中心-AI告警】,在设备树中选择设备点击查看【设备侧告警】,即可查看设备上报的告警类型及告警时间。

          文档反馈

          建议您登录后反馈,可在建议与反馈里查看问题处理进度

          鼠标选中文档,精准反馈问题

          选中存在疑惑的内容,即可快速反馈问题,我们会跟进处理

          知道了

          上一篇 :  云端AI应用
          下一篇 :  人脸库
          搜索 关闭
          ©2026 天翼云科技有限公司版权所有 增值电信业务经营许可证A2.B1.B2-20090001
          公司地址:北京市东城区青龙胡同甲1号、3号2幢2层205-32室
          备案 京公网安备11010802043424号 京ICP备 2021034386号
          ©2026天翼云科技有限公司版权所有
          京ICP备 2021034386号
          备案 京公网安备11010802043424号
          增值电信业务经营许可证A2.B1.B2-20090001
          用户协议 隐私政策 法律声明